新闻动态

  • 调节阀的常见故障和维修知识

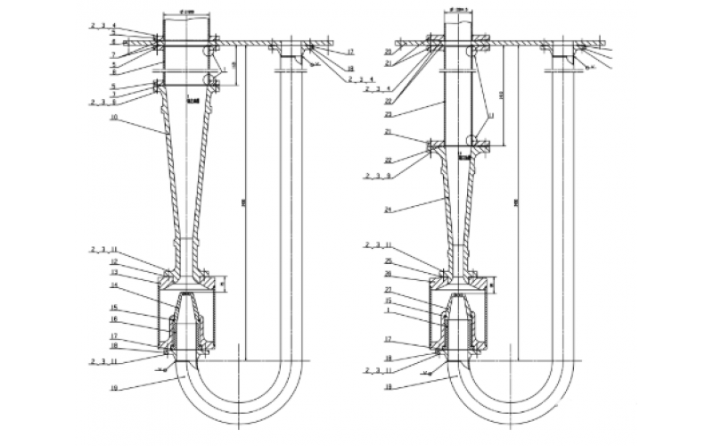
    也称计划性维修,指在出现故障之前的予防性措施,也可理解为安装前的予防和日常性维护保养。包括安装时采取的预防性措施、巡回检查时采取的预防性措施和临时性维修。

    2025-03-21 华体会体育(中国)官方网站

  • 控制阀检修流程实操

    在开始安装时,就要拟定好控制阀的预防性维修计划,虽然阀体及控制阀的连接均是紧固的结构,但不能把它们用以调整对中安装错位的管道。 必须注意,由于不适当的管线组合而引起的任何应力,应保证能在管线系统的其它地方消除。

    2025-03-05 华体会体育(中国)官方网站

  • 电力变压器噪声,产生原因/​听声辩好坏/解决方法

    电力变压器噪声,产生原因/​听声辩好坏/解决方法

    2022-08-26 华体会体育(中国)官方网站电气

  • 注油器工作原理知识分享

    注油器工作原理知识分享

    2022-06-20 华体会体育(中国)官方网站设备

上一页1下一页 转至第
首页
产品
新闻
联系