新闻动态

  • 流量计测量仪表原理与故障处理

    流量是天然气生产过程中一个重要的参数。流量就是在单位时间内流体通过一定截面积的量。 流量分为瞬时流量和累计流量。瞬时流量是指单位时间内流过管道某一截面流体的数量,简称流量。累积流量是指在某一段时间内流过管道的流体数量总和,即瞬时流量在某一段时间内的累积值,又称为总量。

    2025-09-25 华体会体育(中国)官方网站

  • 科里奥利质量流量计典型结构和工作原理CMF基本结构 

    流量传感器是一种基于科里奥利力效应的相位敏感型谐振式传感器。该传感器由振动管、信号检测器、震荡驱动器、支撑结构和壳体所组成。

    2025-07-16 华体会体育(中国)官方网站

  • 常用仪表流量计密码、电动阀密码大全

    北京远大EMFM系列电磁流量计 一级密码:0521 二级密码:3210 三级密码:6108 上海华伍行力流体流体LTE100电控阀密码:8621 CI-PC156-2(J1)昶艾电子科技湿度仪密码:0124 西尼尔涡街流量计的密码 一级密码:000521 二级密码:006108

    2025-04-14 华体会体育(中国)官方网站

  • 仪表调试的内容及其目的

    仪表调试是对工业自动化控制中涉及到的仪表单体和控制系统进行调整和试验,目的是检查其内在 技术性能符合规范或设计规定,参数达到设计图纸要求。

    2024-11-11 华体会体育(中国)官方网站

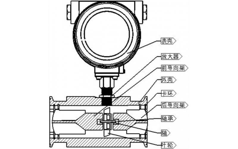
  • 涡轮流量计显示流量为零

    涡轮流量计简介: 涡轮流量计一般由传感器和显示仪两部分组成,也可做成整体式。 涡轮流量计和容积式流量计、科里奥利质量流量计称为流量计中三类重复性、精度最佳的产品,作为十大类型流量计之一,其产品已发展为多品种、多系列批量生产的规模。

    2024-08-14 华体会体育(中国)官方网站

  • 蒸汽流量计的使用测量方法

    蒸汽相变对流量测量的影响 水蒸气顾名思义是气相,但在一定条件下会变成液相;饱和水蒸气中的水滴本是液相,但在一定条件会被蒸发变成气相。这是蒸汽质量流量测则量中常常碰到的汽水相变。 在推导式质量流量计中,关键环节是蒸汽密度的求取,蒸汽相变发生后,就使得通常由蒸汽温度压力求取其密度的关系发生变化,因此必须认真对待。

    2024-05-31 华体会体育(中国)官方网站

  • 蒸汽流量的测量方法

    从式(3.23)可清楚看出,仪表示值同ρ1密切相关。而蒸汽工况(温度t,压力p)的变化,必然使ρ1产生相应的变化。因此,差压式流量计必须与用以求取蒸汽密度的工况测量仪表配合,并同计算部分一起组成推导式质量流量计,才能保证测量精确度。

    2024-04-29 华体会体育(中国)官方网站

  • 流量检测方法与仪表-差压式流量计

    流量检测方法与仪表-差压式流量计

    2023-09-06 华体会体育(中国)官方网站

上一页123下一页 转至第
首页
产品
新闻
联系